| Ausgabe 9/2002 Seite 12 f. |
Ausbildung
Fachbericht (Beschreibung/Skizze) Nr.:
9 Woche: 38Thema:
Bestandteile von Regenwassernutzungsanlagen (Teil 2)Pumpe
Nicht jede Pumpe eignet sich zur Förderung von Regenwasser. Die geeigneten Pumpen werden nach ihrer Betriebsweise unterschieden:
- normalsaugende,
- selbstansaugende,
- einstufige oder
- mehrstufige Kreiselpumpe,
- Unterwassermotorpumpe,
- Tauchmotorpumpe.
Die notwendige Förderhöhe, vorhandene Druckverluste und das gewünschte Fördervolumen bestimmen die Auswahl der Pumpe.
Pumpensteuerung (Druck- und Strömungswächter)
Zur Regelung bzw. Steuerung der Pumpe werden Druck- oder Strömungswächter eingebaut. Diese sitzen in der Druckleitung der Pumpe und schalten sie bei Bedarf ein und aus: Sobald Wasser entnommen wird, fällt der Druck in der Leitung ab, wodurch die Pumpe eingeschaltet wird. Wird die Entnahme beendet, baut sich der Ruhedruck wieder auf und die Pumpe schaltet sich aus. Zur Vermeidung von Trockenlaufschäden ist in der Pumpensteuerung ein Trockenlaufschutz integriert.
Druckerhöhungsanlage
Diese werden bei stark wechselnden Bedarfsmengen oder in Großanlagen eingebaut.
Nachspeisung
Ist das Regenwasser im Speicher z.B. aufgrund längerer Trockenheit aufgebraucht, werden die angeschlossenen Verbraucher mit Hilfe einer Trinkwassernachspeisung mit Trinkwasser versorgt. Die Trinkwassernachspeisungseinrichtungen sind mit Sicherungseinrichtungen versehen und haben grundsätzlich einen freien Auslauf.

Freier Auslauf
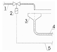
Legende:
1) Trinkwasser-Anschluss
2) Magnetventil
3) Trichter
4) Zulauf zum Regenwasserspeicher
5) Steuerleitung
Die Trinkwasserzuleitung läuft über einen Trichter frei aus, der das Wasser in den Nachspeisbehälter oder Regenwasserspeicher leitet. Der Zulauf ist oberhalb des Speichers zu installieren (Rückstaugefahr). Ein Schmutzfänger sowie ein Absperrventil sollte vor dem Auslauf installiert werden.
Trinkwasser-Einspeisemodul
Alternativ kann das Trinkwasser bedarfsorientiert in die Saugleitung der Pumpe unmittelbar eingespeist werden, sodass es nicht in den Regenspeicher eingespeist werden muss. Dieses Einspeisemodul ist drucklos und beinhaltet den freien Auslauf. Es bietet auch die Möglichkeit, manuell auf Trinkwasserversorgung umzuschalten. Eine Füllstandsanzeige muss zur Kontrolle vorhanden sein. Zusätzliche Kombinationen sind Rückstauwächter oder ein Sensor im Überlauf, die im Fall eines Rückstaus auf Trinkwasserbetrieb umschalten können.
Rohrleitungen
Alle Abwasser- und Betriebswasserleitungen sind nach den Regeln der Technik zu dimensionieren, zu verlegen und zu warten. Material und Verbindungen müssen gegen saures Regenwasser unempfindlich sein. Im Zweifel der Verwendbarkeit eines Werkstoffes ist vom Hersteller schriftlich die Unbedenklichkeit zu bestätigen. Unterschiedliche Werkstoffe bei der Erstellung der Trinkwasser- und Betriebswasserleitungen erleichtern die Zuordnung und vermeiden die Verwechslung bei Anlagenänderungen.
Überlauf/Versickerung
Der Überlauf soll in den natürlichen Wasserkreislauf erfolgen, d.h. über Sickermulden. Zum Schutz vor Fremdstoffen soll zwischen Filter und Versickerung eine Rückhaltung von Fremdstoffen erfolgen.
Schutz vor Rückstau
Wird über einen Kanal entwässert, muss der Überlauf rückstaufrei angeschlossen werden. Evtl. kann eine Hebeanlage erforderlich sein. Rückstauverschlüsse können bei Erdspeichern angeschlossen werden, wenn das Überlaufwasser an ein Trennsystem angeschlossen ist.
Kleintierschutz
Diese sind in Fließrichtung gesehen nach dem Geruchverschluss einzubauen. Sie vermeiden, dass Kleintiere wie Ratten oder Mäuse o.a. in den Speicher gelangen.
Rückspülfeinfilter
Sollte der Pumpe nachgeschaltet werden und hält feinste Schmutzpartikel zurück (zu empfehlen bei Waschmaschinennutzung).
Weitere Komponenten
Bei gewerblicher Regenwassernutzung können noch weitere Komponenten wie Drucksensoren, Mikroprozessoren u.a. zum Einsatz kommen.
Beschriftung
An Grauwasseranlagen sind Schilder anzubringen, welche die Leitungen und Ausläufe klar kennzeichnen:
Alle Zapfstellen der Betriebswasseranlage müssen mit "Kein Trinkwasser" oder dem entsprechenden Symbol gekennzeichnet sein. Auf Putz verlegte Rohre können mit Aufklebern versehen werden. Für die Betriebswasserleitung ist eine andere Farbe als für die Trinkwasserleitung zu benutzen.
Frei zugängliche Ventile sollten mit Steckschlüssel oder abschließbarem Ventiloberteil gesichert werden (als Kindersicherung).

Checkliste für die Planung
- Ermittlung des Regenwasserertrages,
- Ermittlung des Betriebswasserbedarfes,
- Ermittlung der Speichergröße,
- Festlegung Aufstellort des Speichers,
- Festlegung der weiteren Komponenten (Filter, Pumpen, Rückstauschutz, Versickerung),
- Festlegung der Rohrleitungswerkstoffe sowie Speicherausstattung, evtl. Hauswerk, TW-Einspeiseeinrichtung,
- Genehmigungen.
Für den Betrieb und die Wartung der Anlage ist der Eigentümer und der Betreiber verantwortlich. Der bestimmungsgemäße Betrieb, die regelmäßige Inspektion und Wartung sind nach gesetzlichen Vorgaben bzw. Normen verbindlich einzuhalten.
Inspektionen dürfen vom Betreiber der Anlage selbst vorgenommen werden. Wartungs- und Instandsetzungsarbeiten müssen von Fachleuten durchgeführt werden.
Inspektions- und Wartungsplan
Nr. | Anlagenteil | Inspektion | Wartung | ||
1 | Regenwasserspeicher | 3 | 5 | ||
2 | Kontroll- und Reinigungsschacht | 3 | 6 | 1* | |
3 | Filtersysteme | 3 | 6 | 1* | |
4 | Pumpe, Systemsteuerung, Schaltelemente, Nachspeisung, Trockenlaufschutz, Druckhaltung, Fußventil, Saugkorb | 3 | 1 | ||
5 | Freier Auslauf | 1 | 1 | ||
6 | Wasserinhaltsanzeige | 1 | 1 | ||
7 | Wasserzähler, Trinkwasser-Nachspeisung, Regenwasserentnahme | 1 | 6 | ||
8 | Rückflussverhinderer | 1 | 1 | ||
9 | Hebeanlage | 1 | 32) 63) | 1* | |
10 | Geruchverschlüsse, Bodenabläufe | 3/6 | 1 | ||
11 | Regenwassereinläufe | 6 | 1 | ||
12 | Dachrinnen, Regenfallrohre | 6 | 1 | ||
13 | Reinigungsöffnungen/-verschlüsse | 1 | 1 | ||
14 | Rückstauverschlüsse | 1 | 6 | ||
15 | Druck- und Ablaufschläuche | 6 | 1 | ||
16 | Spüleinrichtungen (WC usw.) | 1 | 1 | ||
17 | Rohrleitungen | 1 | 1 | ||
18 | Entnahmearmaturen | 1 | 1 | ||
* = in Einfamilienhäusern | |||||
B i l d 1 : ZVSHK
