IKZ-HAUSTECHNIK, Ausgabe 11/2003, Seite 24 ff.
SANITÄRTECHNIK
Mit dem 2-Liter-WC:
Wasser- und Betriebskosten einsparen
Dr.-Ing. Hugo Feurich*
Nach wie vor aktuell, nicht zuletzt wegen der hohen Wasser- und Abwasserpreise, ist das Einsparen von Spülwasser bei Toilettenanlagen. Im Rahmen einer von der Deutschen Bundesstiftung Umwelt geförderten Forschungsarbeit [1] wurde ein wandhängendes Tiefspülklosett mit "Wasser sparendem Rohrgeruchverschluss" entwickelt. Nach erfolgter Prüfung durch die LAG Landesgewerbeanstalt Bayern (Zweigstelle Würzburg) wurde mit Datum vom 20. Januar dieses Jahres das "Allgemeine bauaufsichtliche Prüfzeugnis Nr. P-4027 LGA" für die Wasser sparende Klosettanlage erteilt.
| Das neu entwickelte wandhängende Tiefspülklosett aus Sanitärporzellan mit Wasser sparendem Rohrgeruchverschluss DN 60 auf dem Prüfstand der LGA Würzburg. |
Das Wand-Tiefspülklosett "HUGO" aus Sanitärporzellan wurde abweichend von der DIN EN 997 [2] nach der LGA-Prüfrichtlinie IGS/5/2001 [3] mit folgenden Spülwassermengen geprüft**:
- Vollspülung mit 4,5 l,
- Teilspülung mit > 2,0 l.
Die bauaufsichtliche Zulassung gilt für eine normgerechte Zuflussinstallation nach DIN 1988 [4] und Abflussinstallation nach DIN 1986-100 [5] und DIN EN 12056-2 [6]. Da die beiden letztgenannten Normen u.a. mit den darin festgelegten Anschlusswerten DU und Nennweiten für Anschlussleitungen ausgesprochen fehlerhaft sind [7, 8], können davon abweichend aufgrund der Forschungsarbeit [1] und bereits praktizierter Installationen [9] Einsparungen durch kleinere Rohrweiten erzielt werden.
Neuanlagen
- Schmutzwasser-Einzel- und Sammelanschlussleitungen können in der Nennweite DN 70 (di min = 68 mm statt DN 80) mit einem Rohrsohlengefälle von 10 mm/m bis 20 mm/m ausgeführt werden. Die Schmutzwasser-Fallleitung kann bis zu 22 übereinander liegenden Einrichtungsgeschossen in der Nennweite DN 80 (di min = 75 mm) statt DN 100 oder DN 125 ausgeführt werden.
- Der Anschlusswert ist für dieses Klosett mit DU5/DU6 = 0,9/0,6 l/s statt DU = 1,8 l/s nach der Norm einzusetzen.
- Der Ablaufanschluss ist mit einem geraden WC-Anschlussstück DN 80 kombiniert mit Gummilippendichtung und einem reduzierten WC-Anschlussbogen 90° DN 80/70 auszuführen.
- Die Einmengenspülung kann bei einer Anschlussausführung mit gerader Anschlussleitung in der Nennweite DN 70 (di min = 68 mm) bei einer Länge von ≤ 2,00 m mit 2,0 Liter betrieben werden.
- Die Einmengenspülung kann bei einer Anschlussausführung mit einer 88,5°- oder zwei 45°-Bogen-Umlenkung der Anschlussleitung in der Nennweite DN 70 (di min = 68 mm) bei einer Gesamtlänge ≤ 3,00 m betrieben werden.
| Wandhängendes Tiefspülklosett; Längsschnitt. |
Altanlagen
Bei Altanlagen, d.h. bei Bestehen bleibender Abflussinstallation in der Nennweite DN 100 und Austausch der Klosettanlage sind die Ausführungsvarianten mit der Einmengenspülung 2,0 Liter und mit der Einmengenspülung 3,0 Liter in gleicher Weise zu handhaben.
- Der Ablaufanschluss ist mit einem geraden WC-Anschlussstück DN 80, kombiniert mit der Gummilippendichtung DN 70 und einem WC-Anschlussbogen 90° DN 80/100 auszuführen.
- Der Anschlusswert ist für dieses Klosett mit DU5/DU6 = 1,5/1,2 l/s statt DU = 1,8 l/s nach der Norm einzusetzen.
Spülkästen und Montageelemente
Wandeinbauspülkästen für Betätigung von vorn können u.a. kombiniert mit Montageelementen für die Vorwandinstallation eingesetzt werden. Das Spülwasservolumen ist von 2,0 l bis 4,5 l durch Einstellen des Schwimmers auf die entsprechende Wassermarke im Spülkasten zu bestimmen. Die Ermittlung der Rohrdurchmesser ist mit einem Berechnungsdurchfluss von VR = 0,06 l/s statt 0,13 l/s nach der Norm vorzunehmen, d. h., der Zuflussanschluss des Spülkastens kann mit Rohr 10 x 1 mm ausgeführt werden.
Selbstreinigungsfähigkeit bestätigt
Die vielfach geltend gemachten Bedenken, dass eine Verringerung des Spülwasservolumens bei der Klosettspülung die Selbstreinigungsfähigkeit der Abwasserleitungen beeinträchtigt, bestehen nicht. Das beweisen Praxiserfahrungen im Universitätsklinikum Mainz seit mehr als 25 Jahren, im Krankenhaus Rüdersdorf seit mehr als sieben Jahren und in einem Wohngebäude in Luckau seit mehr als drei Jahren [9].
Untersuchungen, Forschungsergebnisse und Praxiserfahrungen zeigen, dass die Ausspülung von Prüfkörpern als Ersatzfäkalien aus dem Klosett kein Maßstab für die Selbstreinigungsfähigkeit der Abwasserleitungen von Fäkalien und Toilettenpapier sind. Fäkalien und Toilettenpapier führen auch bei einem geringen Spülwasservolumen und keinen größeren Abflussereignissen anderer Entwässerungsgegenstände zu keinen Ablagerungen in den Abwasserleitungen [7].
| WC-Anschlussbogen 90° DN 80/70 (Hersteller SANIT). |
Montagehinweise
Die Montagehöhe des Ablaufanschlusses ist abhängig von der vorher festzulegenden Montagehöhe des Klosettbeckens anzunehmen. Zu unterscheiden sind die Montagehöhe und die Sitzhöhe bei Klosettbecken. Abhängig von der Sitzdicke des zu verwendenden Sitzes, die bei 10 mm bis 30 mm liegt, ist die Sitzhöhe größer als die Montagehöhe des Klosetts. Für wandhängende Klosettbecken kommen folgende Maße für die Montagehöhe oder Sitzhöhe infrage:
- Erwachsene und Kinder ab 11 Jahren 430 mm
- Kinder von 6 bis 10 Jahren 380 mm
- Behinderte mit Hüftleiden 450 bis 520 mm
- Rollstuhlbenutzer nach DIN 18025-1, Sitzhöhe 480 mm
| Anschluss-Ausführungen für das wandhängende Wasserspar-WC:a) Abfluss-Anschlussleitung DN 70, Gefälle 10 bis 20 mm/m gerade, |
| Fliesen-Installationszeichnung: Tiefspülklosett mit Wandeinbauspülkasten (Hersteller SANIT) für Betätigung von vorn, einstellbar für Einmengenspülung 2,0 und 3,0 Liter. |
Der Bodenabstand Unterkante Klosett sollte aus Gründen einer guten Zugänglichkeit beim Reinigen mindestens 50 mm betragen.
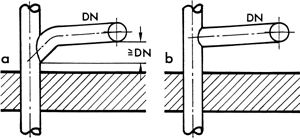
Der Ablaufanschluss des Klosetts ist mit strömungsgünstigen Formstücken auszuführen. Beispiele für günstige und ungünstige Ausführungen zeigen die Bilder. Wichtig ist außerdem eine kurze Länge für den WC-Ablaufanschluss, da bei einer größeren Länge der dadurch auftretende Schiebewiderstand ein größeres Spülwasservolumen erfordert.
| Beispiele für die richtige Ausführung von Klosettanschlussleitungen. |
Mögliche Einsparungen
Die Einmengenspülung 2,0 Liter ergibt gegenüber der 6-Liter-Spülung eine Wasserersparnis von 9,70m3/Person u. Jahr, die Einmengenspülung von 3,0 Liter eine solche von 7,28 m3/Person u. Jahr. Danach können bei der Klosettspülung ca. 21% des Trinkwasserverbrauchs im Haushalt eingespart werden. Abhängig von den Wasser- und Abwasserkosten ergeben sich für einen Vier-Personen-Haushalt Einsparungen an Betriebskosten in Höhe von 250,00 bis 330,00 Euro pro Jahr. Das gilt mit entsprechenden Werten auch für öffentliche Gebäude, Betriebs- und Verwaltungsgebäude, Krankenanstalten, Pflegeheime, Hotels und dergleichen.
| Ungeeignete Ausführungen von Klosettanschlussleitungen: |
| Eine kurze Anschlusslänge X, die maximal 160 mm betragen darf, ist wichtig für eine gute Spülfunktion beim Wandklosett, da sich mit zunehmender Länge der Schiebewiderstand für das Spülgut und damit das erforderliche Spülwasservolumen für die Ausspülung vergrößert. |
Die kleineren Rohrweiten bei der Zufluss- und Abflussinstallation ergeben gegenüber der genormten Bemessung eine Baukostenminderung von etwa 250,00 Euro pro WC-Anlage. Die kleineren Rohrweiten bei der Abflussinstallation verringern zudem die Bautiefe für das Installationssystem um drei Zentimeter. Die Materialeinsparungen bei der Zufluss- und Abflussinstallation liegen in einem Bereich von 30% bis 60%.
Internetinformationen: |
*) Dr.-Ing. Hugo Feurich VDI, Ingenieurbüro, Münchener Straße 35, 13465 Berlin, Tel./Fax: 030/4062077
**) Das Wand-Tiefspülklosett "HUGO" wurde nach der LGA-Prüfrichtlinie mit folgenden Komponenten geprüft: Wandeinbau-Spülkasten SANIT Nr. 980 2V, SANIT-Klosettanschlussstück DN 80 sowie DALLMER Lippendichtung DN 70
L i t e r a t u r :
[1] Feurich, Hugo: Forschungsbericht Wassereinsparung bei der WC-Spülung und kleine Rohrweiten bei der Zufluss- und Abfluss-Installation, 17. April 2001; gefördert durch die Deutsche Bundesstiftung Umwelt. Eigenverlag Hugo Feurich, Berlin.
[2] DIN EN 997, 10. 1999, Klosettbecken mit angeformtem Geruchverschluss. Beuth Verlag GmbH, Berlin.
[3] LAG-Prüfrichtlinie IGS/5/2001, Wasser sparende Klosettanlagen mit 4 l/4,5 l Spülwasservolumen; Anforderungen und Prüfungen. LGA Landesgewerbeanstalt Bayern, Zweigstelle Würzburg.
[4] DIN 1988-1, 12. 1988, Technische Regeln für Trinkwasser-Installationen (TRWI); Allgemeines, Technische Regel des DVGW.
[5] DIN 1986-100, 03.2002, Entwässerungsanlagen für Gebäude und Grundstücke; Zusätzliche Bestimmungen zu DIN EN 752 und DIN EN 12056.
[6] DIN EN 12056-2, 01. 2001, Schwerkraftentwässerungsanlagen innerhalb von Gebäuden; Schmutzwasseranlagen, Planung und Berechnung.
[7] Feurich, Hugo: Entwässerungsanlagen - Stand der Normung und Stand der Technik, gi Gesundheits-Ingenieur Heft 2/2002. Oldenbourg Industrieverlag München.
[8] Feurich, Hugo: Entwässerungsanlagen für Gebäude und Grundstücke - Kommentar einer mangelhaften Normung, Installation DKZ, Heft 1/2003. Georg Siemens Verlag, Berlin.
[9] Feurich, Hugo: Ergebnisse einer reduzierten WC-Spülung und kleiner Rohrweiten bei ausgeführten Installationen, Installation DKZ, Heft 9, 10, 11/2000. Georg Siemens Verlag, Berlin.
[Zurück] [Übersicht] [www.ikz.de]







